|
|
 |
|
|
|
|
|
Aimants | Systèmes magnétiques | Composants magnétiques | Technique magnétique | Entreprise |
| |
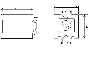
Prismes magnétiques
 |
- Pour mesurer positionner rectifier percer éroder etc.
- 2 surface magnétiques de contact
- convient aussi pour les pièces rondes de diamètre 8 à 70mm
- parallélisme :+-0,01mm sur 100mm
- précision angulaire :+/-0,03mm sur 100mm
|
|
N° d’article
|
H
|
W
|
L
|
L1
|
L2
|
Force attractive
|
Poids
|
|
|
[mm]
|
[mm]
|
[mm]
|
[mm]
|
[mm]
|
[N]*
|
[kg]
|
| 350100 |
95,3 |
70 |
101,6 |
50 |
20 |
700 |
4 |
|
| |